CA6DL2-37E4ca6dl2-37e4
Поиск деталей
Например: Двигатель (правая схема)
Двигатель FAW CA6DL2-37E4

Двигатель (правая схема)

Двигатель (левая схема)

Подвеска двигателя

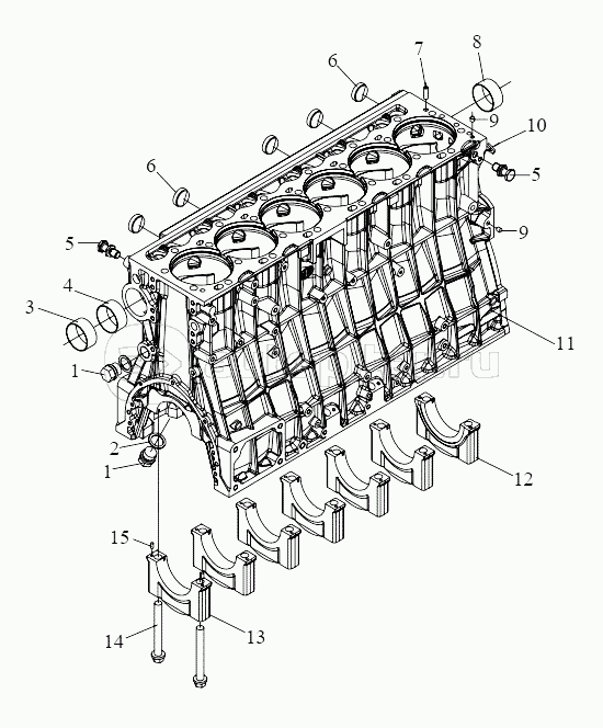
Составляющие элементы блока цилиндров

Блок цилиндров

Составляющие элементы головки блока цилиндров

Головка блока цилиндров

Поршни и шатуны

Коленчатый вал, шкив и маховик

Кулачковый механизм

Трансмиссионная система

Система газораспределения

Выхлопная труба

Масляный картер

Маслоприемник

Масляный насос

Масляный радиатор

Вентиляция картера

Центробежный масляный фильтр

Устройство отбора мощности

Система шестерен передней части

Система подачи топлива

Штуцер возврата мочевины

Фильтр тонкой очистки топлива

Система турбонаддува

Водосливной кран

Термостат, водяной насос

Вентилятор с муфтой вентилятора

Масляного насоса гидроусилителя руля

Воздушный компрессор (I)

Воздушный компрессор (II)

Блок управления двигателем

Датчик электронной системы управления

Генератор

Стартер

Жгут проводов двигателя

Провода маслораспылителя

Воздушный нагреватель

Компрессор с воздушным охлаждением