54905490
Поиск деталей
КузовОкно ветровое и заднееПередок кузоваУстановка шумоизоляционных экрановУстановка вентиляционного люкаДвериВентиляция и отоплениеПринадлежностиКапот, крылья, облицовка радиатора (оперение)

5490-8400006-10 Установка оперения кабины

0000-8401008 Установка облицовочной панели и боковых обтекателей

0000-8415002 Противосолнечный козырек

0000-8424008 Установка молдингов

5490-8403040-10 Крышка ящика инструментального

5490-8401008 Установка облицовочной панели и боковых обтекателей

5490-8401100 Панель облицовочная верхняя с замками

5490-8401214 Обтекатель правый

5490-8401215 Обтекатель левый

5490-8401217 Панель обтекателя внутренняя правая в сборе с панелью нижней

5490-8401218 Панель обтекателя внешняя правая

5490-8401219 Панель обтекателя внешняя левая

5490-8401308 Панель облицовочная нижняя с логотипом

5490-8401310 Решетка радиаторная с логотипом

5490-8403012-10 Панель передней части переднего крыла с накладкой подножки правая

5490-8403014-10 Панель передней части переднего крыла

5490-8403032-10 Панель средней части переднего крыла правая

5490-8403033-10 Панель средней части переднего крыла левая

5490-8403070-10 Держатель панели крыла правого

5490-8423008 Установка верхних и боковых обтекателей

5490-8403010-30 Установка задней части переднего крыла правая

5490-8403011-30 Установка задней части переднего крыла левая

5490-8403020-30 Задняя часть переднего крыла правая

5490-8403021-30 Задняя часть переднего крыла левая

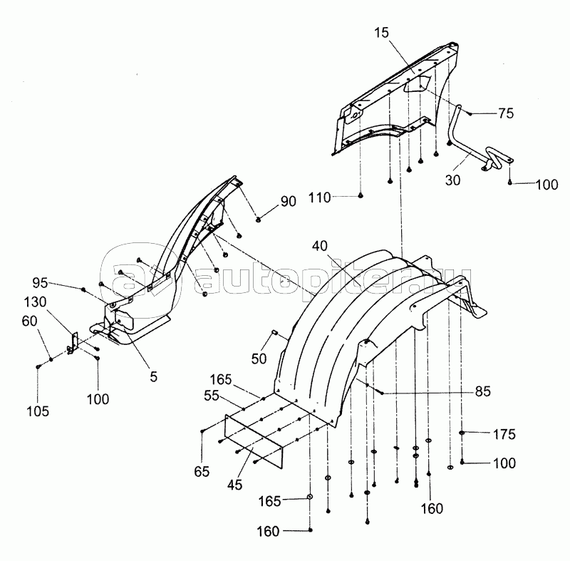
5490-8404003-20 Установка задних крыльев

5490-8404006-20 Крыло заднее №1 правое

5490-8404007-20 Крыло заднее №1 левое

5460-8404009-50 Крыло заднее верхнее

5490-8404010-20 Крыло заднее №2 правое

5490-8404011-20 Крыло заднее №2 левое

5490-8404055 Установка кронштейнов заднего крыла

5490-8404400-10 Установка настила рамы

5490-8404520 Установка поручня

5490-8405010-10 Установка подножек правая

5490-8405011-10 Установка подножек левая

5490-8405100-10 Щиток подножки с люком правый

5490-8407160(2) Петля

5490-8410003-10 Установка боковой защиты

5490-8416012-10 Установка облицовки буфера

5490-8416014-10(2) Облицовка буфера с накладками