КрАЗ-6443 (каталог 2004 г)kraz-6443-katalog-2004-g
Поиск деталей
Например: Кабина в сборе и крепление кабины

Механизмы тормозные передние

Механизмы тормозные задние

Педаль тормозная и привод управления двухсекционным тормозным краном

Воздухопроводы и аппараты тормозной системы

Управление стояночной тормозной системой

Установка и привод компрессора

Картер и вал коленчатый компрессора

Головка и блок цилиндров компрессора

Водоотделитель (до 2000 г)

Регулятор давления с предохранительным клапаном (до 2000 г)

Ресиверы

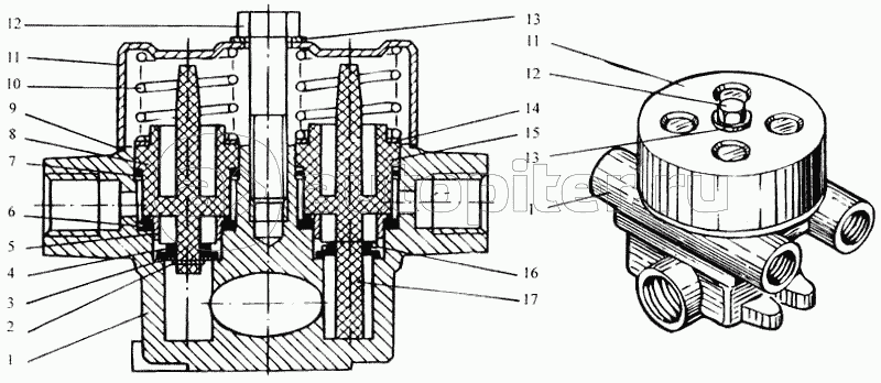
Кран тормозной двухсекционный с рычагом

Противозамерзатель

Клапан контрольного вывода

Клапан защитный четырехконтурный

Клапан ускорительный

Камеры тормозные

Кран разобщительный. Головки соединительные

Клапан управления тормозной системой прицепа с двухпроводным приводом

Регулятор тормозных сил

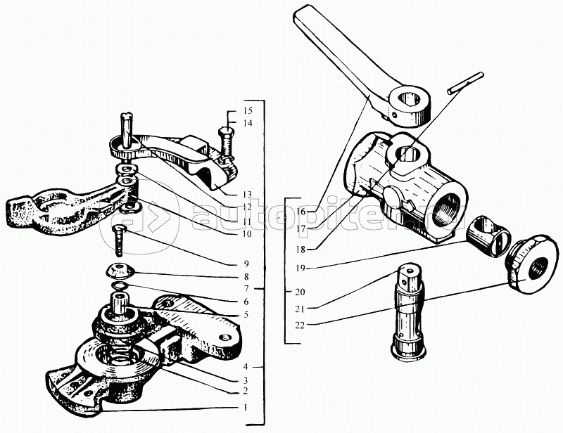
Кран тормозной обратного действия с ручным управлением

Клапан двухмагистральный