Easycollecteasycollect
Поиск деталей
Например: Adapter frame
KRONE Easycollect 6000, Easycollect 7500, EasyCollect 6000 FP

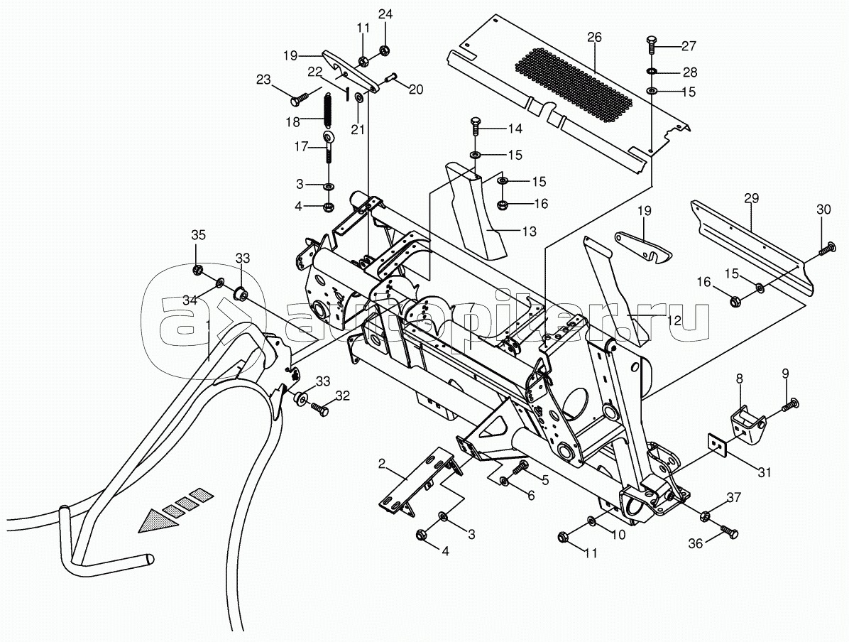
Adapter frame

Boom / Roller

Frame / Knife

Skid / Wearing rail

Frame centring device

Collector wheel

Collector

Series tips / Centre tip

Drive - Main gearbox

Main gearbox

Drive cpl. 822346 - 860000

Drive cpl. 860001 - 967000

Auxiliary gearbox

Angle gear

Fettler gear left 822346 - 860000

Fettler gear left 860001 - 967000

Fettler gear right 822346 - 860000

Fettler gear right 860001 - 967000

Fettler gear left - inside 822346 - 860000

Fettler gear left - inside 860001 - 967000

Fettler gear right - inside 822346 - 860000

Fettler gear right - inside 860001 - 967000

Collector gear left

Collector gear right

Cover holder / Centre tower

Rotating tower

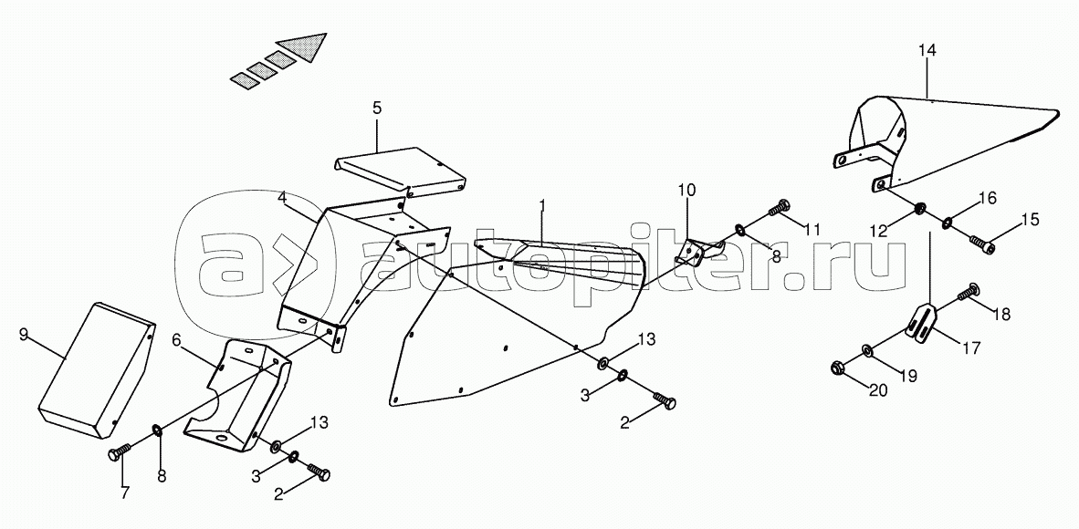
Guard cpl.

Side part

Lateral tip

Row detection

Adaptation to ground contoure

AutoScan-optional

Sunflower plate-optional

Hydraulics - Plant divider

Hydraulics - lift 822346 - 842000

Hydraulics - lift 842001 - 967000

Tip protection / Indiator

Lighting-optional

Wiring harness Adapter frame

Wiring harness Adapter frame-AutoScan

Wiring Harness

Wiring harness

Main Pto shaft-W2500-SC25-610

P.T.O shafts-W2300-SC25-1310

P.T.O shafts-W2300-SC25/1-2060

P.T.O shafts-W2300-SC15-660

P.T.O shafts-W2300-SC15-560

P.T.O shafts-ZW2300-SC25

P.T.O shafts-W2300-SC15-450

Double universal joint

Tag

Additional weights-optional-BIG X V8, V12

Additional weights-optional-BIG X 650, 800, 1000

Additional weights-optional-BIG X 700, 850, 1100

Additional weights-optional-BIG X 500

Support jack

Gearbox inside - Addition JD / NH

Gearbox outside - Addition JD / NH

Main transmission - Addition CL 493 / 494

Train of change

Pivoting frame - Addition CL 491 / 492 / 493 / 494

Adapter frame swinging - Addition

Drive Adapter frame / Pivoting frame - Addition CL 491 /

Pivoting frame - Addition NH-FX

Pivoting frame - Addition JD

Support panel - Addition NH-FX

Drive pivoting frame - addition JD / NH

Centre tip - Addition JD / CL / NH

Lateral tip - Addition CL

Protective cover - Addition JD / CL / NH

Hydraulics - pivoting frame

Hydraulics - lift

Lighting- JD / CL / NH

Pto drive shaft- JD / NH

Pto drive shaft- CL

Pto drive shaft- JD / NH

Pto drive shaft- JD

Pto drive shaft- NH

Double universal joint- CL 493 / 494

Pto drive shaft- CL 491 / 492

Pto drive shaft- NH