Vari-Opal 100HXvari-opal-100hx
Поиск деталей
Например: 321 9119 Contents
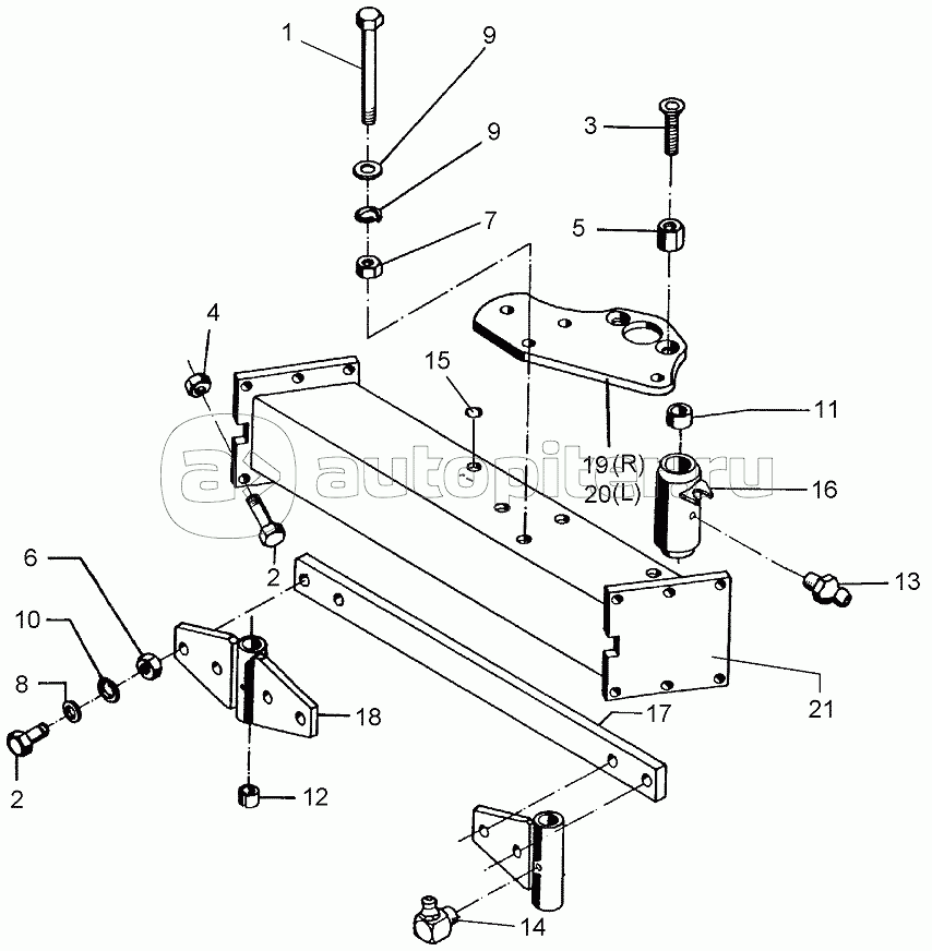
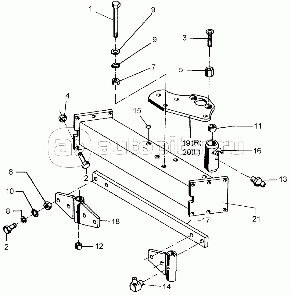
Общие части и комплект инструментаМеханизм поворота и замокОсновная рама и элементы рамыМеханизм настройки и соединителиКолеса, подшипники, ступицы, внутренние колесаПодвеска освещения и освещение, ОгражденияГидравлическа система, соединители и настройка весаСистема дисков и рычагов, конечное колесо, крепление и стопор





