Vari-Opal X160vari-opal-x160
Поиск деталей
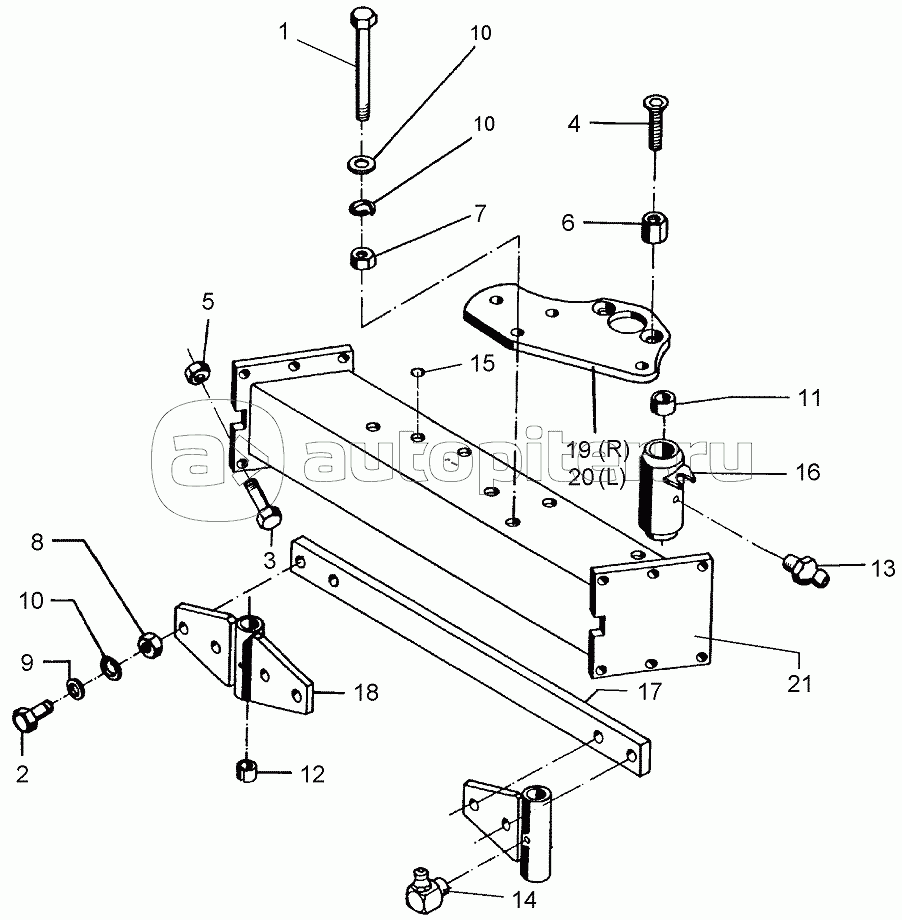
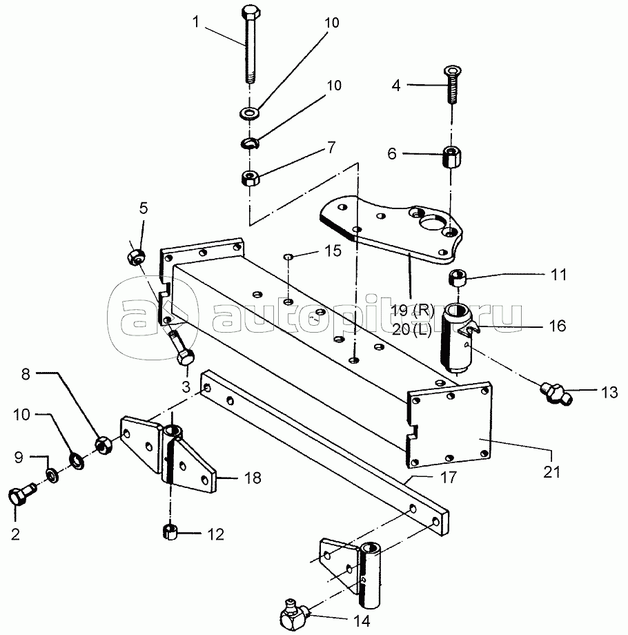
Например: 313 7911 Contents
Общие части и комплект инструментаМеханизм поворота и замокОсновная рама и элементы рамыМеханизм настройки и соединителиКолеса, подшипники, ступицы, внутренние колесаПодвеска освещения и освещение, ОгражденияГидравлическа система, соединители и настройка весаСистема дисков и рычагов, конечное колесо, крепление и стопор





