Shacman SX4255DV385shacman-sx4255dv385
Поиск деталей
Например: HALF HIGH ROOF CAB WELDING ASSY F2000D
Электропроводка кузова, внутреняя проводка и электрические компонентыГоловной свет и внешнее освещение

ELECTRIC PANEL I

CENTER ELECTRIC PANEL II

ELECTRIC PANEL SCUTCHEON

CAB WIRING HARNESS (IN THE DASHBOARD)

PLUG

RELAY, FUSE

WIRING

SWITCH

RELAY, FUSE

WIRING

OTHER CABIN WIRING

RELAY, FUSE

ABS CONTROLLER

OTHER CABIN WIRING

RELAY, FUSE

SWITCH

WIRING

FUSE

CABIN WIRING

SWITCH

CAB INNER ELECTRONICAL DEVICE

PLUG KEY FOR ELECTRIC WINDOW LIFTER SWITCH

FLOODLIGHT

FLOODLIGHT ON REAR PANNEL

WIRING

BUZZER

CHASSIS ELECTRICAL / ADDITIONAL / S36 / 4ABS WABCO / VARIABLE SECTION / COLD ZONE

CHASSIS ELECTRICAL / ADDITIONAL / S36 / 4ABS WABCO / VARIABLE SECTION / COLD ZONE

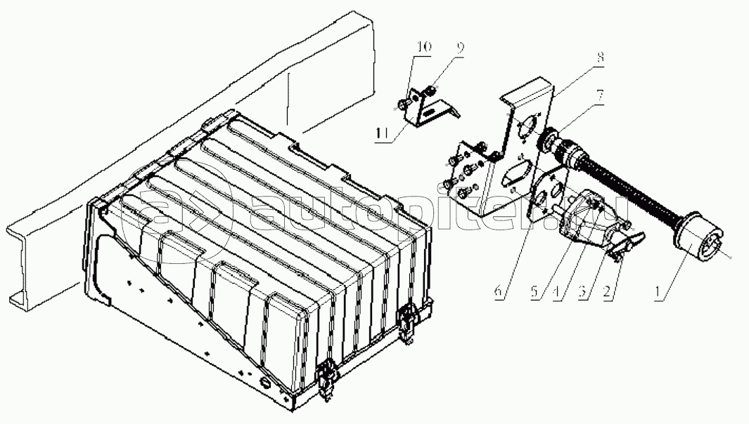
MAIN BATTERY SWITCH

ELECTRONIC CONTROL UNITS FOR AIR CONDITIONING

LOOMS ON CAB OUTER

REAR LIGHT