To content
Оптовикам
Поставщикам
Помощь по сайту
Новости
zapros@autopiter.ru
Контакты
Все категории
Каталоги запчастей
Москва
Вход
Корзина
Все категории
Каталоги запчастей
Фильтры Hebel Kraft
Оригинальные каталоги по VIN
Неоригинальные запчасти
Запчасти ВАЗ, ГАЗ, КАМАЗ
Запчасти для ТО
Автомасла
Для спецтехники
Запчасти на ВАЗ, ГАЗ, Камаз и т.д.
Shantui
Каток SR18M
Каток SR18M
katok-sr18m
Поиск деталей
Например:
ENGINE MOUNT (FOR SR18M/P)
ENGINE RELATED PARTS
OPTION
MAIN FRAME AND WORK EQUIPMENT
DRIVER ASSEMBLY
HYDRAULIC SYSTEM
MARK AND PLATE
ELECTRICAL SYSTEM
GUARD EQUIPMENT
FRONT FRAME
DRUM ASSEMBLY
DRUM ASSEMBLY
ARTICULATE DEVICE
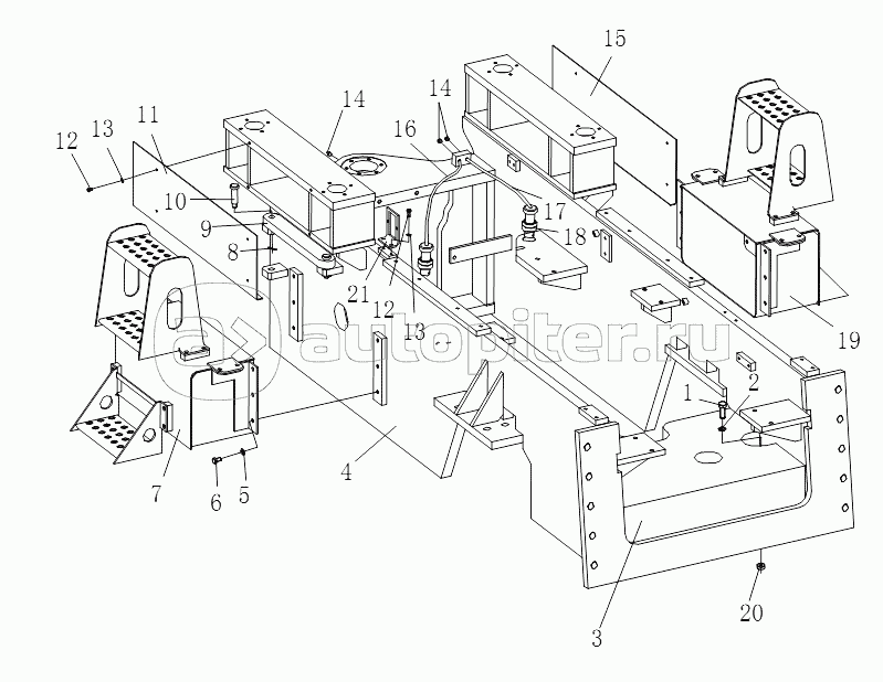
FRAME ASSEMBLY
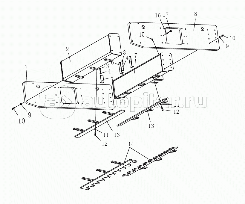
BATTERY BOX LEFT
BATTERY BOX RIGHT
Заказы на сайте принимаются и обрабатываются круглосуточно
Бесплатно доставляем заказы «до двери» оптовым клиентам 5‑6 раз в неделю нашей собственной курьерской службой
Для тех, кто забирает заказы самостоятельно мы стараемся удобно располагать наши пункты самовывоза
Оплатить все товары можно
Или выбрать другой удобный для вас способ