КрАЗ-6446kraz-6446
Поиск деталей
Например: Кабина в сборе и крепление кабины

Механизмы тормозные передние

Механизмы тормозные задние

Педаль тормозная и привод управления двухсекционным тормозным краном

Воздухопроводы и аппараты тормозной системы

Управление стояночной тормозной системой

Установка и привод компрессора

Установка и привод компрессора (после внесения конструктивных изменений)

Картер и вал коленчатый компрессора

Головка и блок цилиндров компрессора

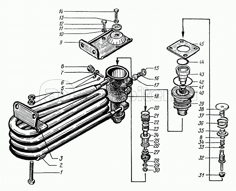
Влагомаслоотделитель с регулятором давления

Ресиверы

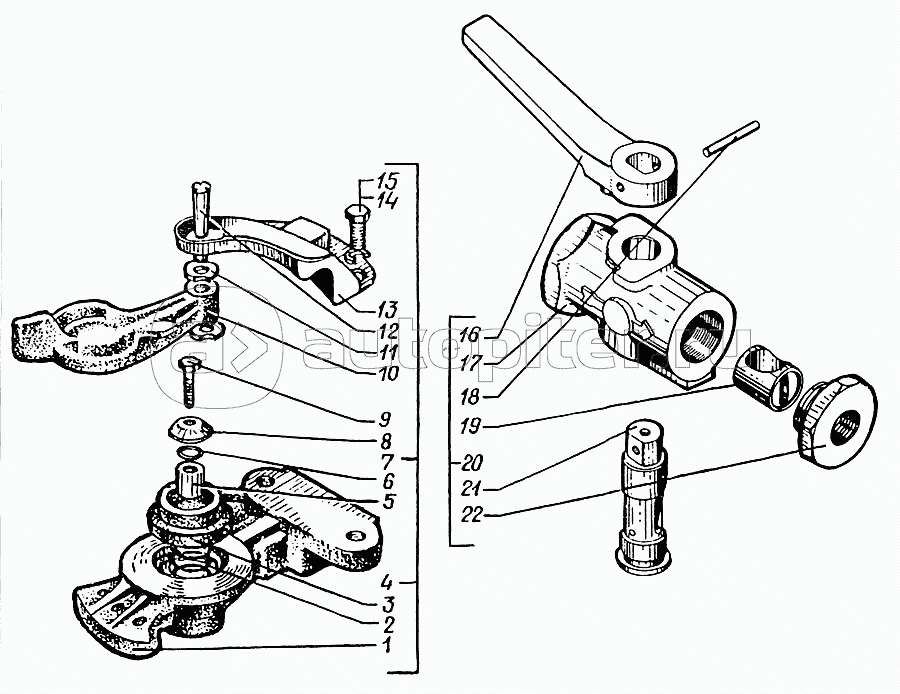
Кран тормозной двухсекционный с рычагом

Противозамерзатель

Клапан контрольного вывода и клапан обрыва

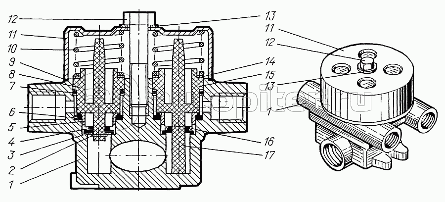
Клапан защитный четырехконтурный

Клапан ускорительный

Камера тормозная

Кран разобщительный и головки соединительные

Клапан управления тормозной системой прицепа с двухпроводным приводом

Регулятор тормозных сил

Кран тормозной обратного действия с ручным управлением

Клапан двухмагистральный